宇成FBY5.0矿用压入式轴流通风机 YBT-11轴流风机
FBY5.0矿用压入式轴流通风机,YBT-11轴流风机,FBY5.0轴流通风机,11KW压入式轴流通风机
FBY5.0矿用压入式轴流通风机适用于金属矿山,化学矿山,隧道及XXX使用风机的厂矿,输送介质温度不超过40℃,湿度不大于97%(25℃)及无腐蚀金属和破坏绝缘的气体或蒸汽环境中。
一、FBY5.0矿用压入式轴流通风机结构:
FBY5.0矿用压入式轴流通风机由吸流器、叶轮、电动机、防爆接线盒、机体、导流器等六部分组成。机体及结构采用钢板焊接而成:采用电动机与叶轮直联方式,传动可靠,整机结构简单紧凑,坚固耐用,使用安全, 维修方便。
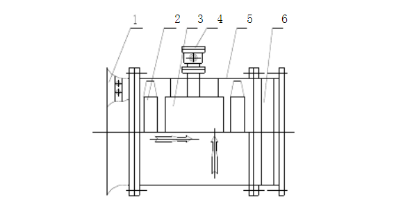
1、集流器 2、叶轮 3、隔爆电动机 4、防爆接线盒 5、机体 6、出风筒
二、FBY5.0矿用压入式轴流通风机安装及注意事项
1安装前的检查:
1.1装配是否正确;
1.2坚固零件是否牢固,弹簧垫圈是否齐备。
2用500V兆欧表测量绕组对地的绝缘电阻不得小于2兆欧。
3详细对通风机标牌上各项数据与实际需要是否相符。特别注意电源电压是否相符。
4检查导电点是否良好无锈。
5按有关规定选择电缆。如煤矿井下须使用U型不延燃护套电缆接线。接线时应注意,如所选用电缆外径与引人装置内厂家生产的橡胶密封圈内径不适应时,用户应根据电缆大小另选。
6按规定装好保护接地:煤矿井下须按矿井保护接地装置的安装、检查、测定工作细则进行。
7检查控制设备及保护装置能否满足要求。
8通风机在正式工作前应试转。未接电源前应转动风机叶轮,检查有无卡阻现象,然后接通电源看其旋转方向是否正确,有无异常声音、振动、擦碰等现象, 正常方能使用。
9、风机在煤矿井下使用,风机及配套的开关、电缆、保护装置等设施的选型、使用、维护都须按《煤矿安 全规程》的有关规定进行。
联系人:张经理 手机:15615688851(微信同号)
QQ:2656653994 座机:0538-6626868
地址:泰安市岱岳区青春创业开发区
